在线咨询
联系我们
400-188-1718
电话咨询
留言咨询
公众号
扫码关注公众号
设备巡检是维护和管理设备的重要环节,它可以确保设备的正常运行,并及时发现和解决潜在的问题。风塔设备管理系统正是帮您解决设备巡检的潜在问题,它的核心目的为了预防设备故障、保障设备安全运行、延长设备使用寿命、提高生产效率。
企业在实际巡检过程中,经常会遇到以下巡检痛点:
1、 流于形式,巡检人员总漏检关键项
2、 老员工凭经验感觉,异常判断标准模糊
3、 记录不规范,数据不可于分析
4、 发现问题不及时处理
巡检类型知多少?
日常巡检:日常巡检是指对设备每天的运行情况进行检查和监控,以发现设备运行中存在的问题,及时修复故障,保证设备的正常运转。可按班次(班前/班中/班后)来进行巡检,日常巡检的内容通常包括检查设备的清洁状况,观察设备的运行状态,检查电气设备的接线情况等等。
定期巡检: 定期巡检是指对设备进行周期性的检查和维护,以保证设备长期稳定运行。定期巡检的周期可以根据设备的使用寿命、运行环境、使用频率等因素进行调整。定期巡检的内容通常包括对设备主要部件的检查和维护,润滑、更换易损件等。
专项巡检:专项巡检是指对设备进行针对性的检查和维修,通常是根据设备实际情况进行安排的,如长期闲置的设备、特殊季节的设备等。专项巡检的内容通常是根据具体情况动态调整的,目的是为了发现并消除潜在风险。
巡检“武器库”——工具与方法
感官检查 (看、听、闻、摸、测):
看:外观(泄漏、变形、腐蚀、磨损、裂纹、松动、脏污)、液位、油色、仪表读数、指示灯状态。
听:异响(摩擦、撞击、啸叫)、运行声音是否平稳。
闻:异常气味(焦糊、过热、化学泄漏)。
摸:温度(轴承、电机外壳、管路)、振动(初步手感)。
测:使用工具进行精确测量(温度枪、振动仪、测厚仪、万用表等)。
常用工具: 点检锤、手电筒、测温枪、测振笔、听针、气体检测仪等。
知识准备:熟悉设备性能,结构、原理、参数,操作规程、常见故障问题这些关键性息。
标准准备:根据《设备说明书》、《设备标准作业指导书》等资料和实际运行过程中出现的问题,规划设备的巡检点位,巡检内容。
工具准备:根据巡检内容和设备类型,准备并检查所需工具(电量充足、校准有效)。
安全准备 (重中之重!):
1. 劳保用品穿戴齐全(安全帽、防护眼镜、手套、工装、安全鞋等)。
2. 了解作业区域风险及应急措施。
3. 执行上锁挂牌程序(如需进入危险区域或接触运动部件)。
4. 确认设备状态,是运行中巡检还是停机巡检?
1. 巡检路线规划
风塔设备管理系统根据设备的布局,工艺流程,检查部位,确定设备的巡检路线。按照“全面,合理,快捷,精悍”四要素确定路线,即要避免重复巡检,也要防止项目漏检。

巡检计划中,添加巡检路线设备

显示路线顺序
2. 巡检计划的制定
l确定巡检周期:根据设备的类型和使用情况,制定不同的巡检周期。一般来说,设备的巡检周期可分为日常巡检、周检、月检、季检和年检等不同周期。对于关键设备,还可以根据实际情况增加巡检频次。

设置巡检的周期
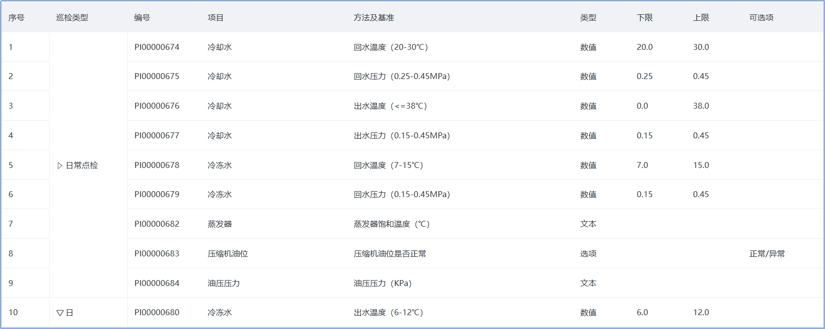
l 确定巡检内容:明确不同巡检周期需要检查的内容和项目,故障方法及基准。包括设备的外观、运行状态、润滑情况、传动部件、电气设备、安全防护装置等方面。同时,还需要根据设备的特点和使用情况,确定需要重点关注的部位和项目。

确定巡检项目内容及基准
l 确定巡检负责人:对于每个设备巡检任务,明确责任人和巡检人员,确保每个巡检任务有专人负责。同时,对巡检人员进行培训,提高其巡检技能和意识,确保巡检的质量和效果。
确定巡检任务的负责人
3. 巡检记录与问题处理
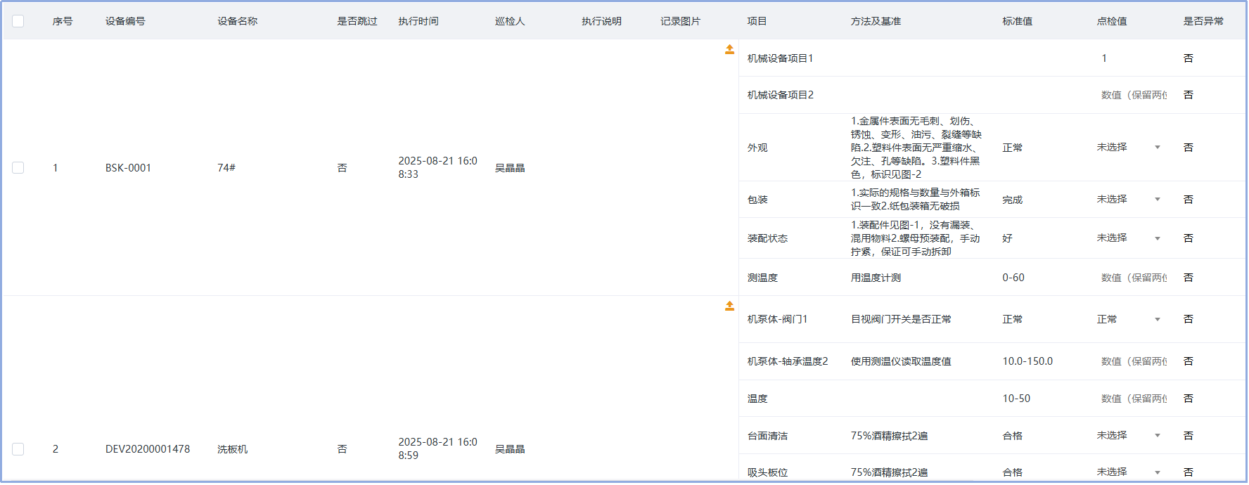
巡检计划按周期生成巡检任务,接收到巡检任务后,应根据巡检任务中需巡检项目,参考标准等,使用巡检“五感法”进行巡检,如实填写巡检每一条记录,包括设备运行状态、异常图片,异常情况说明及处理措施。对发现的问题和隐患进行跟踪和整改,及时上报,并跟踪处理进展,确保问题闭环管理。

按巡检项目内容,根据方法基准进行巡检
巡检后,异常现场消除
无法现场消除异常,可发起报修或维修计划待后面统一维修,跟踪维修结果
异常处理流程
4. 巡检结果分析
根据巡检结果和记录的问题,对设备维护工作进行分析和总结。多维度进行统计分析,形成数据图表,进行趋势分析,以便调整巡检周期,内容及巡检频次进行优化。为设备维护和改进提供数据依据

分析巡检项目结果趋势
对巡检进行综合分析
5. 巡检人员知识培训
为了提高设备巡检维护的效果,需要对巡检人员进行培训,提升其巡检技能和知识水平。同时,还需培养员工的设备维护意识,让他们意识到设备巡检维护的重要性,并将其纳入日常工作中。
设备巡检维护是保障设备正常运行的重要措施,具有重要的意义。一套全面的设备巡检管理系统需要包括巡检流程、巡检要点和巡检结果分析等内容,这些内容旨在提高设备的可靠性、安全性和稳定性。通过设备巡检维护,相信可以延长设备寿命、提高设备使用效率和维修效果,为企业的生产经营做出积极贡献。